Солевой бак BTS 20
Для подробной информации и заказа звоните:
☎ +38(066)1053923
☎ +38(097)9719588
Солевой бак BTS 20 для малогабаритных систем умягчения воды которые можно разместить в небольшом подсобном помещении или под кухонной мойкой.
Солевой бак BTS 20 — это специализированный резервуар для малогабаритных систем умягчения воды, который идеально подходит для установки в небольших подсобных помещениях или под кухонной мойкой. Устройство служит ключевым элементом процесса регенерации ионообменной смолы, обеспечивая растворение таблетированной соли и подачу солевого раствора для восстановления рабочих свойств фильтрующего материала.
Почему BTS 20 — идеальный выбор для квартир и небольших домов?
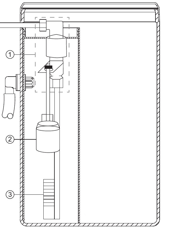
Основное преимущество солевого бака BTS 20 заключается в его компактных размерах при сохранении всех необходимых функций. Диаметр 225 мм и высота 470 мм позволяют разместить устройство даже в самых ограниченных пространствах, где стандартные солевые баки не помещаются.
Как работает система регенерации в компактном формате?
Процесс регенерации в BTS 20 происходит следующим образом: таблетированная соль растворяется в воде, образуя концентрированный солевой раствор. Этот раствор подается на ионообменную смолу умягчителя, восстанавливая её способность удалять соли жесткости из воды. Благодаря продуманной конструкции, даже при небольшом объеме бака процесс регенерации происходит эффективно.
Какие уникальные элементы конструкции обеспечивают надежность?
BTS 20 оснащен тремя ключевыми элементами безопасности:
- Предохранительный запорный клапан — предотвращает переполнение бака
- Поплавковый механизм — автоматически контролирует уровень воды
- Всасывающая система (air check) — обеспечивает стабильную подачу солевого раствора

Как правильно установить солевой бак BTS 20 за 10 минут?
Монтаж солевого бака BTS 20 отличается простотой и не требует специальных навыков. Весь процесс занимает не более 10 минут и включает следующие этапы:
Подготовка компонентов
- Откройте черную крышку солевого бака
- Извлеките солевую шахту из бака
- Снимите крышку с солевой шахты
- Аккуратно достаньте систему подачи и забора воды
Настройка поплавкового механизма
Отрегулируйте поплавковый механизм на требуемую высоту. Этот элемент играет критически важную роль — он предотвращает перелив воды при неправильной настройке управляющего клапана или программном сбое.
Подключение трубопровода
Подключите трубку ⅜ дюйма: один конец к реагентной линии управляющего клапана, второй — к солезаборной системе. Трубка входит в комплект поставки.
Финальная установка
Разместите солевой бак на небольшом расстоянии от умягчителя, следя за тем, чтобы трубка реагентной линии не была натянута и не имела заломов.
Что делать после установки для запуска системы?
После завершения монтажа необходимо:
- Засыпать таблетированную соль внутрь бака
- Включить принудительную регенерацию на управляющем клапане
- Проклацать все режимы до режима наполнения солевого бака
- Заполнить бак водой для приготовления первого солевого раствора
Как откорректировать уровень воды при первом запуске?
Если воды набралось недостаточно, отрегулируйте время наполнения через программирование клапана управления или измените положение запорного поплавка солевой шахты.
Как определить, что солевой бак работает правильно?
Основными индикаторами корректной работы BTS 20 являются:
- Постоянная мягкость воды в доме
- Регулярное уменьшение уровня соли в баке
- Отсутствие накипи на сантехнике и бытовых приборах
Что делать, если качество воды ухудшилось?
Если вода после умягчителя перестала быть мягкой, но соль в баке присутствует, необходимо:
- Промыть всю трубную систему
- Устранить возможные засоры
- Проверить настройки управляющего клапана
Почему важно регулярно пополнять запас соли?
Небольшой объем BTS 20 (20 литров) требует более частого контроля уровня соли по сравнению с большими баками. Частые регенерации быстро расходуют реагент, поэтому регулярное добавление соли критически важно для непрерывной работы системы.
Какие последствия нехватки соли в компактном баке?
При отсутствии соли бак перестает выполнять свою основную функцию — подачу солевого реагента для промывки катионита. Это приводит к снижению эффективности умягчения и постепенному выходу из строя ионообменной смолы.
Комплектация и технические характеристики
В комплект поставки BTS 20 входит:
- Емкость с крышкой
- Система всасывания с запирающимся механизмом
- Трубка для соединения солевого бака и управляющего клапана
Технические характеристики солевого бака BTS 20
| Параметр | Значение |
|---|---|
| Объем | 20 л |
| Диаметр | 225 мм |
| Высота | 470 мм |
| Материал корпуса | Пищевой пластик |
| Тип соли | Таблетированная |
| Соединение | ⅜ дюйма |
| Вес (пустой) | 3,2 кг |
| Максимальная загрузка соли | 15 кг |
Преимущества выбора BTS 20 для малогабаритных систем
Солевой бак BTS 20 представляет собой оптимальное решение для владельцев квартир и небольших домов, где каждый сантиметр пространства имеет значение. Компактные размеры не влияют на функциональность — устройство обеспечивает все необходимые процессы для эффективной работы системы умягчения воды.
Простота установки и обслуживания делает BTS 20 доступным для самостоятельного монтажа, что экономит средства на вызове специалистов. Надежная конструкция с тремя уровнями защиты гарантирует долгосрочную эксплуатацию без риска затопления или сбоев в работе.
Экономическая эффективность компактного решения
Использование BTS 20 позволяет организовать систему умягчения воды в условиях ограниченного бюджета и пространства. Меньший объем означает более частые, но экономичные регенерации, что особенно актуально для домохозяйств с небольшим потреблением воды.
Инвестиции в солевой бак BTS 20 окупаются за счет продления срока службы бытовых приборов, сокращения расходов на моющие средства и улучшения качества жизни благодаря постоянному наличию мягкой воды в доме.
Похожие товары:
Солевой бак 500 литров | Солевой бак BTR-70
